
【CNMO科技消息】近日全国十大配资,三星向中国国家知识产权局(CNIPA)公开的一项专利,揭示了其通过XR眼镜与自家Galaxy手机的深度互联强化生态系统的战略布局。CNMO了解到,该专利描述了一种基于眼球追踪的交互系统,用户可通过XR眼镜的视线注视触发或跨设备转移操作,实现手机与眼镜的无缝协同。
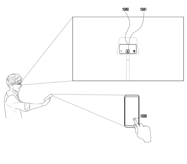
根据专利文件,该系统由XR眼镜(第一电子设备)和智能手机(第二电子设备)组成。眼镜内置传感器、显示模块和摄像头,可实时追踪用户头部运动及眼球焦点,识别其注视的特定对象或区域。当系统确认用户注视目标后,XR设备会与手机通信并执行关联操作,例如:
通过视线触发手机通知或应用切换;
将虚拟界面叠加至现实场景,扩展手机功能;
支持手势交互与物联网设备注册,实现智能家居控制。
专利设计图展示了用户佩戴XR眼镜时,通过注视手机屏幕即可实现操作转移。例如,用户瞥见手机上的消息提示,可通过眼镜直接处理;或在使用AR应用时,将虚拟对象与手机界面实时联动。这一技术有望打通智能手机、XR穿戴设备及智能家居的交互壁垒,构建统一的三星Galaxy生态平台。
据分析,若该技术落地,将成为三星推进“扩展现实(XR)生态”的关键一步,强化其与苹果、Meta等厂商在AR/VR领域的竞争地位。但需注意全国十大配资,专利仅为技术储备,未必会转化为商用产品。
顺阳配资提示:文章来自网络,不代表本站观点。